Vues éclatées pour STIHL FS80
Afficher les 82 vues éclatées 
AA - Carter, cylindre

AB - Démarreur de rembobinage, Silencieux

AC - Système d'allumage, Embrayage

AD - Filtre à air, Réservoir de carburant

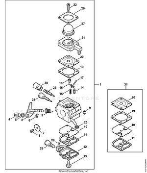
AE - Carburateur 4137/28

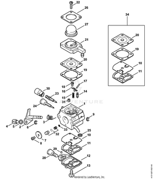
AF - Carburateur 4137/22

AG - Carburateur 4137/29 BR

AH - Carburateur 4137/23 BR

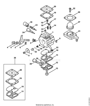
AI - Carburateur C1Q-S157, C1Q-S69 (41.2017) (45.2009)

AJ - Carburateur C1Q-S80 BR (41.2017)

AK - Carburateur C1Q-S63, C1Q-S78 BR (15.2003)

AL - Carburateur C1Q-S56 (16.2001)

AM - Carburateur C1Q-S60 BR (17.2002)

AN - Carburateur C1Q-S45 (16.2001)

AO - Carburateur C1Q-S28, C1Q-S41 ? 1 42 812 153 (21.1999)

AP - Carburateur WT-447

AQ - Tube d'entraînement FS 75, Poignée à boucle

AR - Poignée

AS - Poignée (24.2002)

AT - Poignée ? X 36 959 794 (37.1997)

AU - Poignée de vélo

AV - Poignée de vélo USA, CDN, BR, PRC

AW - Poignée de vélo (24.2002), (15.2003)

AX - Poignée de vélo

AY - Ensemble tube d'entraînement FS 80, 80 R, 85, 85 R, 85 RX

AZ - Assemblage du tube d'entraînement FS 85 T (14.2002)

BA - Tête d'engrenage FS 80, 80 R, 85, 85 R

BB - Tête d'engrenage FS 80, 80 R, 85, 85 R, 85 T, 85 RX (41.2017)

BC - Tête d'engrenage FS 80, 80 R, 85, 85 R ? X 35 221 993 (32.97)

BD - Déflecteur

BE - Déflecteur (41.2017)

BF - Gardien de transport

BG - Outils, Extras

BH - Numéro de série

BI - Téton

BJ - Bande de serrage

BK - Bloc d'assemblage en bois

BL - Dérive d'assemblage

BM - Dérive d'assemblage

BN - Installation du manchon

BO - Arbre de presse

BP - Plaque d'étanchéité

BQ - Douille, T27x125

BR - Pince A10-plate

BS - Tuyau 135 mm / 5 5/16

BT - Bride

BU - Mise en place du manchon

BV - Pochette de presse

BW - Jauge de réglage

BX - Jauge de réglage

BY - Arbre de presse

BZ - Extracteur

C[ - Pompe

C\N- Tournevis, T27x150

C] - Tournevis, T20

C^ - Outil d'installation LS

CA - Outil d'installation, 8

CB - Crochet d'assemblage

CC - Douille, 13 mm

CD - Crochet d'assemblage

CE - Testeur de système d'allumage, ZAT 3

CF - Outil d'installation

CG - Testeur de système d'allumage, ZAT 4

CH - Manche

CI - Bande de verrouillage

CJ - Clé dynamométrique avec signal optique/acoustique

CK - Clé dynamométrique

CL - Clé dynamométrique avec signal optique/acoustique

CM - Clé dynamométrique

CN - Mâchoire (profil n° 3.1 et 4)

CO - Plaque percée

CP - Manchon

CQ - Manche

CR - Support d'assemblage

CS - Plaque de serrage

CT - Plaque de serrage

CU - Tachymètre EDT 9

CV - Outil d'installation

CW - Extracteur

CX - Extracteur

CY - Mamelon

CZ - Kit d'outils de test
L'année sélectionnée () n'existe pas pour le modèle affiché, les compatibilités pour la plage d'années valide sont affichées à la place
Pièces et accessoires pour
STIHL FS80